Remove & Replace The Front Axle
Gadget
So, it's time for a new front tire and you want to take the wheel off the bike to save big bucks on mounting at the shop? Not a problem. All you'll need is some basic hand tools and a way to get the front tire off the ground.
What You'll Need
- Motorcycle lift or automotive scissor jack
- For 1600's a 22 millimeter axle removal tool. You have choices here. The spark plug wrench that came with your bike has a 22mm allen head wrench on one end to be used for this purpose. Unfortunately
the tool isn't the sturdiest you've ever seen and some 1600 owners have reported bending them trying to release the axle the first time. Another option, make your own with a 22mm (head) bolt and a couple of nuts locked together on the bolt or you can get fancy and buy a tool specially made for axle removal. The one shown at right is available from "Cycle Gear" the Motrax axle wrench ($16.99 at this writing)
- For 1500's an 8 millimeter Allen wrench or (preferably) Allen socket
This is a socket you'll use a lot (front axle pinch bolt, frame bolts, rear brake caliper etc) and they're inexpensive at most any tool outlet. The one shown is Craftsman, about $5 at any Sears store.
- For 1500's a 24 millimeter socket or box wrench for the axle nut (you really don't want to use an adjustable wrench on a nut torqued to 80 foot pounds)
- 1-
Torque wrench capable of reading to 80 foot pounds. You don't need a $200 tool for this. A simple and inexpensive beam type torque wrench (shown at left) will work fine. Another alternative is to use a 1 foot long breaker bar and fish scale that reads to 80 ponds...er...pounds. Yes, it's that easy to make your own shade tree torque wrench. Each pound that registers on the scale placed one foot from the center of a socket equals one foot pound.
Axle Removal
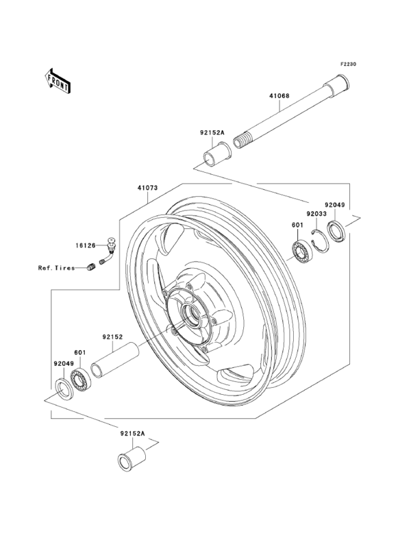
Kawasaki has used two systems to hold the front axle on its 1500/1600 cruisers and tourers. For 1500's the axle is secured by a 24 mm nut while 1600's use an axle that's threaded into the left fork as you can see below (click thumbnails for larger images).
1500 Wheel & Axle
Note Nut That Is Outside
Of Fork
1600 Wheel & Axle
Note Threads on Axle
Screw Directly Into Fork
For both your first challenge will be to get the front end of the bike off the ground. If you have a motorcycle lift or can borrow one then problem solved. If not you 'can' use a scissor lift from the trunk of your car but you'll have to take extra steps to stabilize the bike. I recommend not using a hydraulic jack because there's always a danger they can collapse and your bike will be supported awhile by the lift.
Place the scissor lift under the bike near the front of the frame with a piece of wood isolating the bike from the lift. As you raise the bike have a helper adjust straps or rope attached to the bike to keep it upright as it comes off the sidestand. You only need to get the front tire off the ground a very small amount so don't go bonkers with this static wheelie thing ok?
With the front tire off the ground it's time to remove parts. Note, if you have a 2000 or earlier Vulcan with cable driven speedometer the speedo drive unit takes the place of the right side spacer shown in the picture above.
1. Remove brake caliper(s). These will be fastened to the forks with 12mm bolts. After removing the bolts lift the caliper(s) off the disk and tie the caliper up to some part of the frame/fender so there's no tension on the brake hose. This is the best possible time to inspect your brake pads. If they're worn to a point where you can't see the open area in the center of the pad (it appears as one solid pad) it's replacement time. Get a new set while you're having your new tire mounted.
2. If you have a 1600 loosen the pinch bolt on the 'threaded' fork then use your 22 millimeter tool of choice to loosen the axle (lefty loosey, righty tighty). Now you'll be able to extract the axle being careful not to drop spacers on both sides of the wheel and support the wheel at the same time. Roll the wheel out and you're good to go. Keep track of those spacers so you get the correct one on each side during re-assembly. If you mix them up your brake caliper may not align with the brake disk.
2A. If you have a 1500 grab your 24 mm socket fixed to a long handled breaker bar (the nut is one tight puppy) or box wrench and remove the nut. Now you can loosen the pinch bolt on the right side. If you have a plastic or rubber mallet give the threaded side of the axle a little tap to get it moving then slip a screwdriver into the hole in the right side of the axle and start wiggling the axle out. Note the spacers on each side of the wheel. They may or may not stay in the wheel as the axle is pulled out and you don't want to mix them up. When the axle is completely removed set it aside and roll the wheel out. Remove the spacers on each side if they haven't already fallen out and set them aside with the axle and nut.
3. Go get your new tire mounted
Installation
We'll assume your bike is still where you left it with the front end pointing skyward.
1. If you've had a new tire mounted, check the pressure. From the tire store it's almost guaranteed not to be your normal pressure so make the adjustment now. It's easier than when the wheel is on the bike.
2. Grab the spacers you set aside with the axle earlier (still keeping track of left and right sides) and put a little bit (emphasis on little) of grease on the spacer where it will fit into the grease seal (not on the portion you'll be able to see when the wheel is mounted). The grease will help lubricate and protect the grease seal which spins on the spacer as you roll down the road. Put the spacers in the wheel. (as noted above the speedometer drive replaces the spacer on bikes with mechanical speedos. Be sure the drive is locked into the wheel properly before tightening the axle nut or you'll have a bound up front wheel).
3. Roll your wheel between the axles. Grab the axle and put a thin coating of grease on it (but not on the threads of the 1600 axle). Insert the axle while lifting the wheel. This is where you'll appreciate only having that wheel a tiny bit off the ground.
This question seems to come up quite a bit on various motorcycle forums: "Do I tighten the pinch bolt and then the axle bolt or the other way around?"
The simple answer is, axle bolt first and then the pinch bolt. This will ensure the axle has been pulled all the way through both forks before being locked down on the (for Vulcans) right side.
4. To ensure your fork tubes travel up and down smoothly without one being slightly higher than the other, tighten the large axle nut on the 1500, the axle itself on the 1600 to the manufacturers spec ( 79.6 foot pounds) but leave the clamp bolt loose.
5. Reinstall your brake caliper(s). You checked the pads for wear right? Tighten the 12 mm bolts to 25 foot pounds.
5. Get the front wheel back on the ground and with the front tire butted against something solid (wall, garage door, cabinet...) repeatedly pump the front end up and down as far and fast as you can both pushing and lifting on the handlebar at least half a dozen times. DO NOT use the front brake because the calipers clamping on the disks might prevent the legs from centering themselves. This procedure will align the fork tubes for the smoothest possible operation.
When you're finished with the above tighten the axle pinch bolt (25 ft lbs) and go ride with your forks riding at exactly the same height, possibly for the first time ever.