Fork Oil Change
For Vulcan 1500/1600 With Cartridge Type Forks

/files/includes/images/mm_forkparts.jpg (100366 bytes)

In the event you're wondering if this is worth doing yourself consider Kawasaki's book rate for this job is 3.5 hours.   Your shops rates may be higher or lower but where I live it's $70 an hour so this is a $245 job plus fork oil if the Kawasaki shop does it.    Now, do you think an afternoon of your time is worth it?   Read on and PLEASE read through the entire page before you start disassembling things just to be sure you have the necessary parts and supplies.

My original intention was to change the fork oil in my '01 Nomad FI using the T-Stan method which only requires popping the top off the forks, inserting a small tube and sucking the old oil out and replacing it with fresh.   After one look it became clear, this wasn't going to happen with a cartridge type fork. If you're in doubt about what type you have check specifications for your bike on Kawasaki's Website.   Your owners manual won't be any help here.

This isn't a hard thing but it does require a bit of disassembly especially if you're working on a Nomad.   Please read through ALL of the instructions first and make sure you and/or a friend have (or can make) the tools necessary to do the job right.

I have scanned all the appropriate pages from the Nomad factory manual which you can open and print from these links.  The pictures below are the most meaningful from the manual pages along with descriptions you might need for a successful and satisfying bit of maintenance.

Fork Oil Replacement Pg-1

Fork Oil Replacement Pg-2

Fork Oil Replacement Pg-3

Fork Oil Replacement Pg-4

Fork Oil Replacement Pg-5

Fork Oil Replacement Pg-6

What You'll Need

Your choice of fork oil.  Vulcan's come from the factory with 10 weight so if the front of your bike has always been a little too active for your taste then you might want to try 15 or 20 weight to stiffen up the action a bit.

17 mm Allen wrench /files/includes/images/fork_oil_17mmwrench.jpg (23081 bytes) or a 17 mm bolt.  At some point in your life you may have owned a Volkswagen bug and if you did there is probably one of these wrenches in your tool box.  You needed it to change oil on the VW.   Never owned a bug?  Hit the hardware store and grab a bolt with a 17 mm head.  You'll turn the bolt upside down and with a set of vice grips attached to the threads use it as a wrench.

5 mm and 8 mm Allen head wrenches
Assorted sockets 8 mm,  10 mm,  12 mm and extensions
Torque wrench (borrow one from a neighbor?)
Spring Compressor (don't worry, we're going to make one)
Plunger retriever (we'll make one of these too from a piece of fuel line)
Lots of towels (to cover your tank and headlight)
Throw away containers (to drain the old oil into)
Measuring cup with at least 400 cc capacity
Aquarium tubing (couple of feet will do)
Wire coat hanger (probably in the trunk in case you locked yourself out of the car....doh!)
Container for nuts/bolts and assorted parts
A friend

Let's Do This

1. Get the front of your bike in the air.  You'll need at least enough clearance to roll the front tire out from under the fender

2. Remove front wheel by first removing the calipers (4-12 mm bolts) then loosen the 8 mm axle pinch bolt (right side) and remove the axle nut.   Tap the axle part way out with a soft mallet then use a screwdriver through the hole in the right side of the axle to wiggle the axle the rest of the way out.  Support the wheel while you're doing this.    Keep track of the spacers on each side of the wheel as they're different sizes.   Set tire/axle assembly aside.

3. Remove front fender.  Four bolts hold the fender in place along with fittings for the front reflectors and brake hose supports.   When the bolts are removed use utility wire or string to tie the calipers up to engine protector bars or anything that will support the weight of the calipers.  You don't want them swinging from the hoses.   Set front fender aside in a safe spot.

4. This is a good time to cover your gas tank and headlight with towels.  The more the better in case you drop something.  Kawasaki's instructions will have you removing the entire fuel tank.  It's probably a precaution to prevent scratches and dents and is completely optional.    

5. Look carefully at the chrome caps on top of the forks.  You'll see a tiny seam about a millimeter above the triple clamp.  Use a small screwdriver to pry the caps off and put them in your parts container.

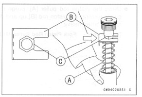
6. Now you can see the brass colored plugs with the 17mm Allen heads. /files/includes/images/fork_oil_plug.jpg (38196 bytes) No time like the present to get that 17 mm wrench out and just tap the plugs to loosen them.  This will prevent you having to lock them in a vice later possibly causing damage.

7. Start removing stuff.  For Nomads remove the windshield first  then the brackets holding the lowers to the forks  /files/includes/images/fo_pic1.jpg (54838 bytes) 
/files/includes/images/fo_pic2.jpg (56721 bytes) Remove the 5 mm Allen head bolts holding the hose/wiring keeper and put everything in your parts container.  (Tip: use tape to hold the bolts in the correct holes so you'll know where they go later) .   Use white out or something similar to mark the location of your handlebars.  Just a dot at the seam of your risers and caps will do and white out is easy to remove later.   Remove your handlebars and be VERY careful when you loosen the clamp bolts.   If you or a helper don't hold the bars up they will swivel down and could cause damage to your tank.  The photos don't show the headlight covered but do it anyway.    /files/includes/images/fo_pic3.jpg (58253 bytes) Remove the top (chrome) nut, washer and "O" ring from the triple clamp and loosen the 8 mm Allen bolts on each side that clamp the triple tree to the forks.    Use a soft hammer bopping each side to get the top clamp off the forks and stem.

/files/includes/images/fo_pic4.jpg (56153 bytes) With the top clamp gone "B" marks the bolts you have to remove to get the fork top covers off.   These are all 8 mm bolts and a long extension will be very helpful here.   Put the bolts in your parts container and the shields in a safe place.   /files/includes/images/fo_pic5.jpg (57462 bytes) With a magic marker, put an "L" and a "R" on the appropriate fork where the marks will be hidden by the shields later.   This way you can't possibly put them back together on the wrong side of the bike.  Hey, it happens.   Loosen the bottom tree Allen head bolts and 'carefully' slide the forks out.   You now have a bike that looks like this /files/includes/images/fork_oil_viewfromfront.jpg (97030 bytes) /files/includes/images/fork_oil_viewfromside.jpg (100861 bytes) /files/includes/images/fork_oil_viewfromtop.jpg (90140 bytes).

8. At this point you 'could' just turn the forks upside down, remove the plug with your 17 mm tool (no worries, nothing is going to spring out of there as long as you have the fork extended) and let them drain into a catch pan /files/includes/images/fork_oil_draining.jpg (264089 bytes) which was my original plan.  The problem is, how are you going to be absolutely positively sure you have the right amount of fresh fork oil in the tubes later.  You have to measure with the springs 'out' of the tubes so lets move to step 9.

9. If you want to do this the 'complete' way you'll have to make a spring compressor tool.  Here's the way the book shows it /files/includes/images/fo_pic8.jpg (29242 bytes)  The spring compressor is just a flat piece of steel or aluminum with a slot in it that slips 'over' the piston rod in the fork but is narrow enough to support the nut under the top cap.   So here's where we make our own.  Grab a scrap piece of aluminum or steel and just cut a slot in it (unscrew the top cap of one fork to determine how wide to make the slot).  This is what you'll end up with /files/includes/images/fork_oil_specialtools.jpg (130263 bytes) Note the piece of fuel line.  That's another special/files/includes/images/mm_door_handle_remover.jpg (39369 bytes) tool you'll use to retrieve the piston rod during re-assembly.  But you don't have any scrap metal lying around?   No problemo, head on out to your favorite auto supply store and pick up a door handle remover as shown at right.  This part specs out almost identically to Kawasaki's 'special' tool for compressing the fork spring.

Once your spring keeper is made or purchased have your friend pull down on the spring while you slip the keeper 'under' the nut.   Once this is done you can hold the nut with an open end wrench and twist the cap off with your 17 mm tool.  /files/includes/images/fo_pic9.jpg (35944 bytes) When the top portion has been set safely aside have your friend pull down on the spring again while you remove the keeper.  Now the spring can be removed from the tube.    Turn the tube assembly upside down and pump the rod in and out at least a dozen times or until you don't get any more fluid.   

10.  Whatever way you did it your forks should now be completely drained of old fluid.  

11. Open your container of fork oil and measure out 338 cc's of fluid.  If you aren't spot on don't worry about it, we're going to make another 'special tool' to take care of it.

12. Pour your fluid into the shock tube, measure another 338 cc's and pour into the other tube.  Now, with the tube held level it's time to make sure they're both even.    Kawasaki will sell you a tool but it's far simpler to make one. /files/includes/images/fork_oil_measure_tube.jpg (177263 bytes) Using a metric measuring device (ruler) place a  mark  165 mm from the end of your piece of aquarium tubing.  Mark the tube all the way around so you can see it easily.   Now using zip ties or rubber bands fasten the tubing to a wire coat hanger or something stiff and straight but clean.

13. The book calls for the fork oil level to be 165 mm from the top of the tube (without the spring in place) so lower your aquarium tubing into the fork tube to the line you must made.   Suck (lightly) on the other end of the tube (or use a syringe) to remove any excess oil.  If you're only getting air, add some oil.  When the oil stops and you're making those 'soda fountain with the straw' noises with your tube it's time to stop.   Do the same with the other fork.

14 Re-assembly time.  Screw that other special tool you made (the fuel line) to the top of the rod and pass it through the spring pulling the rod up while the spring is dropping.   Go get your buddy away from the kegerator and have him compress the spring again while you hold the hose and insert your home made spring compressor.    Have you noticed how the friend is doing all the heavy lifting here?   You're going to owe him.

15 Now using the same method you used to remove the brass colored top cap thing tighten it back to the rod making sure it's tight against the lock nut.   /files/includes/images/fo_pic15.jpg (26391 bytes) There should be 10.5 mm of thread showing above that lock nut if you're doing this 'by the book'.

16. Top cap tightened back down?  Call the buddy, compress the spring, remove your spring compressor and go do the other fork.

17.  From here on it's just re-assembly in the reverse order you took everything off the bike.  A little soap and water solution on the dust seals inside the fork shields will make assembly simpler and prevent damage to those seals.   Make sure you haven't switched sides putting the left fork back on the right side and vice versa.  Remember those ID marks you made earlier?  

Re-assembly torques are:

Piston Rod Nut 14 ft lbs
Fork Top Plug 16 ft lbs
Upper For Clamp Bolts 14 ft lbs
Lower For Clamp Bolts 25 ft lbs
Lower For Cover Bolts 65 inch lbs
Fork Bottom Allen Bolts 14 ft lbs
Axle Clamp Bolt 25 ft lbs
Steering Stem Head Nut (the chrome one) 65 ft lbs
Handlebar Clamp Bolts 25 ft lbs
Axle nut 80 ft lbs
Caliper mounting bolts 25 ft lbs

Before you fire up the bike, check your mirrors.  Even if you marked the handlebar location as advised earlier you may find the mirrors are just a little high or low.   Get them where you want them then go ride!  You're going to feel a difference especially if you had more than about 25,000 miles on the old fork oil.